Podnośnik masztowy GENIE GR 26J
Specyfikacja techniczna podnośnika
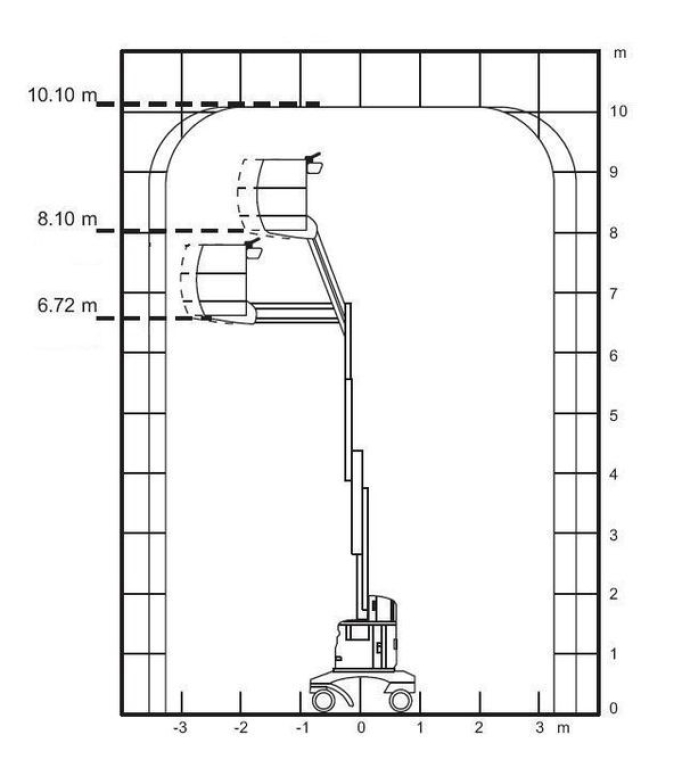
Wysokość robocza: 9,9 m
Maksymalna wysokość pomostu: 7,9 m
Zasięg poziomy: 2,65 m
A) Wysokość w stanie złożonym: 1,99 m
B) Długość w pozycji złożonej: 2,82 m
C) Szerokość urządzenia: 0,99 m
D x E) Wymiary pomostu: 0,70 m x 0,90 m
Udźwig: 200 kg
Waga: 2250 kg
Dokument do pobrania
